艾爱米(北京)科技有限公司
丁先生:18610251711
徐女士:13718301068
企业QQ:133030818
邮箱:133030818@qq.com
网址:www.aiamy.com.cn
地址:北京房山长阳熙悦汇9号楼1506
“官方给出了Token的中文翻译:‘词元’ ”
随着人工智能技术的爆发,一个看似陌生的词汇正在频繁出现在大众视野中——Token,它是排行榜上大模型调用量的评估标准,也是大模型厂商销售套餐的计费单位。
从3月24日国新办举行的新闻发布会上获悉,国家发展改革委党组成员、国家数据局局长刘烈宏介绍,到今年3月,我国日均Token的调用量,已经超过了140万亿,相比2024年初的1000亿增长了1000多倍,相比2025年底的100万亿,三个月时间又增长了40%多。
那么,这个“Token”到底是什么?
01什么是Token?
简单来说,Token是AI大模型处理信息的最小计量单位。无论是我们向AI提问,还是AI生成一段文字或代码,都会被拆解成一个个Token来完成运算。
打个比方,Token就像是AI世界里的“汽油”。我们使用各种大模型服务,本质上就是在购买Token的使用量。想让人工智能帮你写文案、编代码甚至“养龙虾”(指训练AI智能体),都需要消耗Token。
那日均140万亿的调用量意味着什么?刘烈宏表示,“日均Token调用量的大量增加,充分表明中国的人工智能发展进入了快速增长阶段,应用场景在不断深化,从能对话到能决策执行的智能体,中国人工智能产业的竞争力也显著增强,现在大家热议的Token出海,就是产业竞争力增强的一个标志。”
02“Token”中文名:“词元”
有趣的是,“Token”在此前一直没有正式的中文名称。直到3月23日,刘烈宏在中国发展高层论坛2026年年会上提到Token“词元”不仅是智能时代的价值锚点,更是连接技术供给与商业需求的“结算单位”,为商业模式的落地提供了可量化的可能。
这意味着官方给出了Token的中文翻译:“词元”。
值得一提的是,无论是“Token”还是“词元”,都已经被注册为商标。这意味着这两个名称不仅仅是技术术语,更是受到法律保护的品牌标识。
据企查查显示,“Token”早在2017年已被申请注册商标,截至目前已收89个“Token”商标申请,其中已有37个注册成功,商标类别涉及第2类(颜料油漆)、第20类(家具)、第21类(厨房洁具)、第27类(地毯席垫)等。

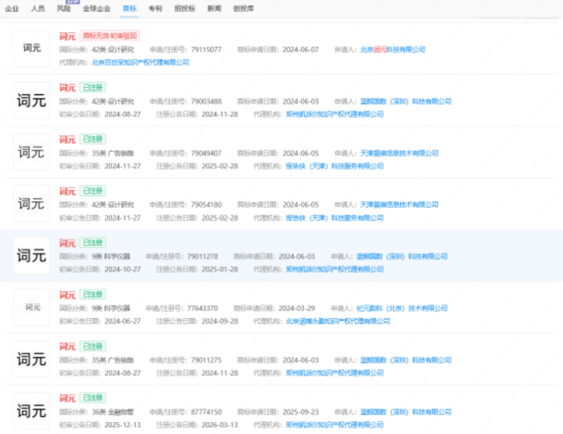
而“Token”的中文名“词元”也已经在2024年,被多家公司申请注册。据企查查显示,截至目前已有8个“词元”商标申请,其中7个已被申请注册,商标类别涉及第9类(科学仪器)、第35类(广告销售)、第36类(金融物管)、第42类(设计研究)等。

03 行业通用词变商标意味着什么?
随着AI产业的快速发展,Token已经成为类似“电费”一样的计量单位,属于公共行业术语。将这一核心概念注册为商标,意味着“词元”“Token”两个名称将不再是公共资源,而是归商标注册人专属所有,受到《商标法》严格保护。如果企业在产品命名、品牌推广等场景中,擅自用“词元”或“Token”做商业标识,未经授权使用,或将构成商标侵权的风险。
不过,按照商标法相关规定,行业通用名称通常不宜作为商标独占使用。后续“Token”“词元”是否会引发无效宣告、权属争议等法律纠纷,值得关注。
各项目联系负责人:
科技项目代理服务:
国家高新技术企业、中关村高新技术企业、科技型中小企业、专精特新企业
联系人:徐女士 手机/微信:13718301068
联系人:张女士 手机/微信:18845891976
知识产权服务:
联系人:徐女士 手机/微信:13718301068
张女士 手机/微信:18845891976
认证服务
联系人: 徐女士 手机/微信:13718301068
陈女士 手机/微信:13717511803
证书办理服务
无人机运营证书/展览馆证书、商品条码证书
联系人:张女士 手机/微信:18845891976
其他服务
年度审计报告、专项审计报告、研发费用加计扣除备查、税审报告
联系人:刘女士 手机/微信:15910778903
联系人:杨女士 手机/微信:18617852615
